Self-Test D-1.5 Sizing Sanitary Drainage Pipes
Complete Self-Test D-1.5 and check your answers.
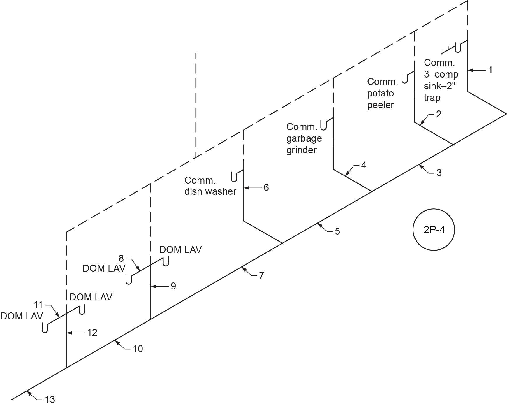
- Using Figure 2P-4, fill in Table 1 by sizing the drainage piping indicated by the numbers.

| Number | Name | Fixture Units | Size |
|---|---|---|---|
| 1 | |||
| 2 | |||
| 3 | |||
| 4 | |||
| 5 | |||
| 6 | |||
| 7 | |||
| 8 | |||
| 9 | |||
| 10 | |||
| 11 | |||
| 12 | |||
| 13 |
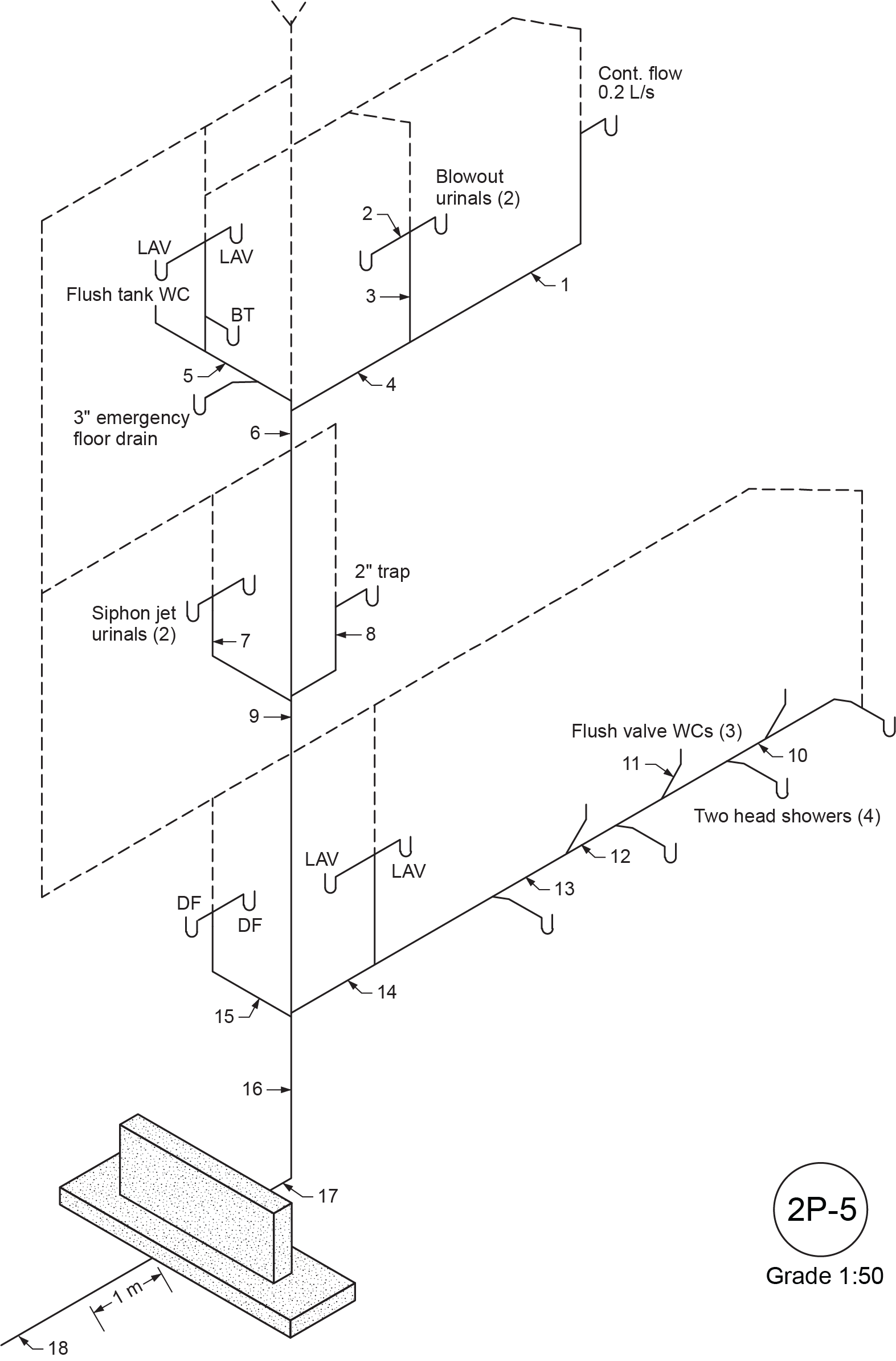
- Using Figure 2P-5, fill in Table 2 by sizing the drainage piping indicated by the numbers.

| Number | Name | Fixture Units | Size |
|---|---|---|---|
| 1 | |||
| 2 | |||
| 3 | |||
| 4 | |||
| 5 | |||
| 6 | |||
| 7 | |||
| 8 | |||
| 9 | |||
| 10 | |||
| 11 | |||
| 12 | |||
| 13 | |||
| 14 | |||
| 15 | |||
| 16 | |||
| 17 | |||
| 18 |
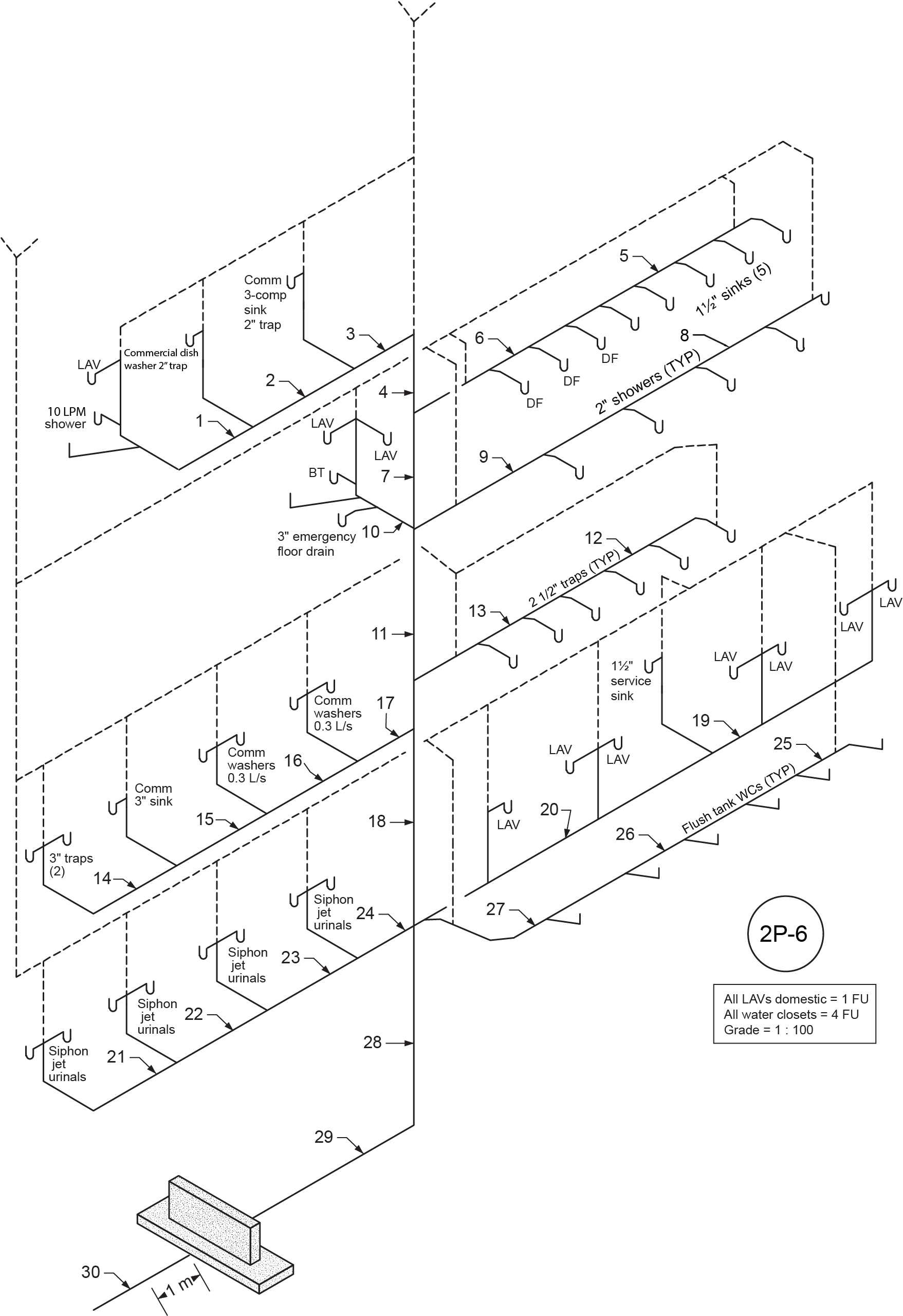
- Using Figure 2P-6, fill in Table 3 by sizing the drainage piping indicated by the numbers.

| Number | Name | Fixture Units | Size |
|---|---|---|---|
| 1 | |||
| 2 | |||
| 3 | |||
| 4 | |||
| 5 | |||
| 6 | |||
| 7 | |||
| 8 | |||
| 9 | |||
| 10 | |||
| 11 | |||
| 12 | |||
| 13 | |||
| 14 | |||
| 15 | |||
| 16 | |||
| 17 | |||
| 19 | |||
| 20 | |||
| 21 | |||
| 22 | |||
| 23 | |||
| 24 | |||
| 25 | |||
| 26 | |||
| 27 | |||
| 28 | |||
| 29 | |||
| 30 |
Answer Key: Self-Test D-1.5 is on the next page.