Self-Test D-1.2 DWV Terminology
Complete Self-Test D-1.2 and check your answers.
- According to the BC Plumbing Code, a bathroom group consists of which components installed in the same room?
- One domestic lavatory, one WC, and one bathtub
- One domestic lavatory, one WC, and one bathtub with a single showerhead
- One domestic lavatory, one WC, and one single showerhead
- All of the above
- What is the name given to a vent connected at its lower end to the junction of two or more vent pipes and at its upper end to a stack vent, vent stack, vent header, or open air?
- Circuit vent
- Branch vent
- Wet vent
- Continuous vent
- What is the name given to a vent that serves two fixtures and connects at the junction of the trap arms?
- Circuit vent
- Branch vent
- Dual vent
- Relief vent
- What is the name given to the length along the centreline of a pipe and fittings for the purpose of sizing?
- Centreline length
- Equivalent length
- Developed length
- Combined length
- What is the name given to a fixture designed for overflow protection that does not receive regular discharge from other fixtures?
- Emergency floor drain
- Emergency fixture
- Emergency scupper
- Emergency drain pan
- A pipe installed at 47° to the horizontal is said to be in what plane?
- Nominally horizontal
- Nominally vertical
- Horizontal
- Vertical
- A fresh-air inlet is a vent pipe installed in conjunction with which component in a sanitary drainage system?
- Manhole
- Sewage sump basin
- Building trap
- Oil interceptor
- What is the name given to a drainage pipe that extends from the trap of a fixture to a point of connection with another part of the drainage system?
- Branch
- Fixture drain
- Individual drain
- Trap drain
- The top edge of a fixture or receptacle from which water can overflow is given what designation in the NPC?
- Concealed overflow
- Waste and overflow
- Standing waste
- Flood-level rim
- When a drainage pipe is physically connected in such a way that water or gas cannot escape from the connection, it is said to be connected in which way?
- Air break
- Air gap
- Indirectly
- Directly
- What is the name given to the portion of a fixture drain between the trap weir and the vent pipe fitting?
- Fixture outlet pipe
- Waste and overflow
- Trap arm
- Continuous waste
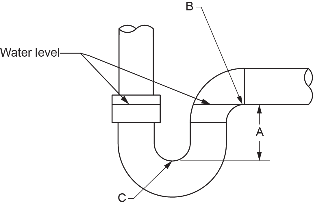
- Identify the trap dip in Figure 1.
- Identify the traps seal in Figure 1.
- Identify the trap weir in Figure 1.

Figure 1 - What is defined as a combination of elbows or bends that brings one section of pipe out of line but into a line parallel with the original section of pipe?
- Offset
- Barber’s loop
- Jumper configuration
- Running trap
- What is the name of a vertical main sanitary drainage pipe that passes through one or more storeys?
- Stack
- Vent stack
- Stack vent
- Riser
- Which of the following terms best describes a vent that is the extension of a vertical branch or fixture drain?
- Individual vent
- Continuous vent
- Dual vent
- Branch vent
- According to the National Plumbing Code, what name is given to the unobstructed vertical distance between the lowest point of an indirect drainage system and the flood-level rim of the fixture into which it discharges?
- Air gap
- Air break
- Critical level
- Developed length
- Which of the following terms best describes water with impurity levels that will not be harmful to health and may include HVAC condensate but does not include stormwater?
- Clear-water waste
- Sewage
- Effluent
- Potable water
- What is the name given to a one-way valve that allows air to enter a plumbing drainage system when negative pressures develop in the piping?
- Backwater valve
- Check valve
- Pressure-reducing valve
- Air-admittance valve
- Which of the following terms best describes a vent pipe that serves a number of fixtures and connects to the fixture drain of the most upstream fixture?
- Dual vent
- Vent stack
- Circuit vent
- Relief vent
- What trade term is used to describe a trap for a fixture that is also used as the main support for the fixture?
- Drum trap
- Trap standard
- Crown-vented trap
- Bell trap
- How far does a building drain continue outside the building wall before it can be considered a building sewer?
- 0.5 m
- 1 m
- 1.5 m
- 2 m
- What is the main purpose of a venting system?
- Allows sewer gas to be taken to the roof terminal
- Protects the fixture traps
- Limits the fluid velocities in the stack
- Allows overflow to reach the building drain in the event of a blockage in the drainage line
- What is the name given to a device installed in a building drain to prevent air from circulating between the drainage system and the public sewer?
- Backwater valve
- Air admittance valve
- Building trap
- Vacuum breaker
Answer Key: Self-Test D-1.2 is on the next page.